Hello, my first post here.
I am more comfortable with digital circuits, but have been asked if I can test the attached circuit.
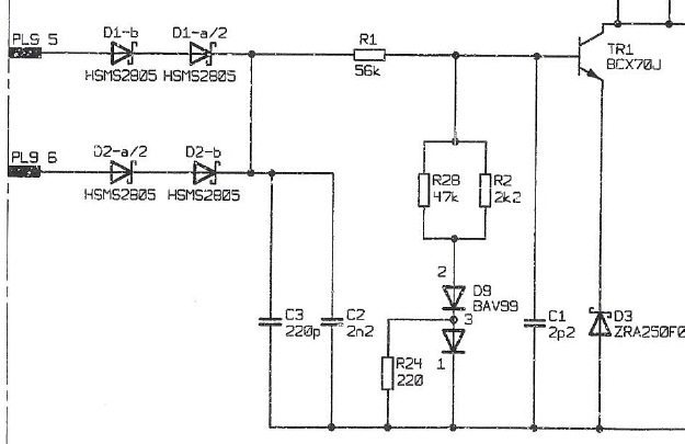
The output of TR1 collector feeds to other transistors and on to an output.
The input with the schottky diodes is where I an struggling, does anyone know how that bit of circuit works and how I should test it.
Thanks in advance for any ideas / help.
Keith

0V